在繁忙的建筑行业中,如何精准高效地管理项目收支,一直是众多企业面临的挑战。如今,斗栱云建筑收支管理软件以其卓越的性能和智能化的管理功能,成为了众多建筑企业的得力助手。

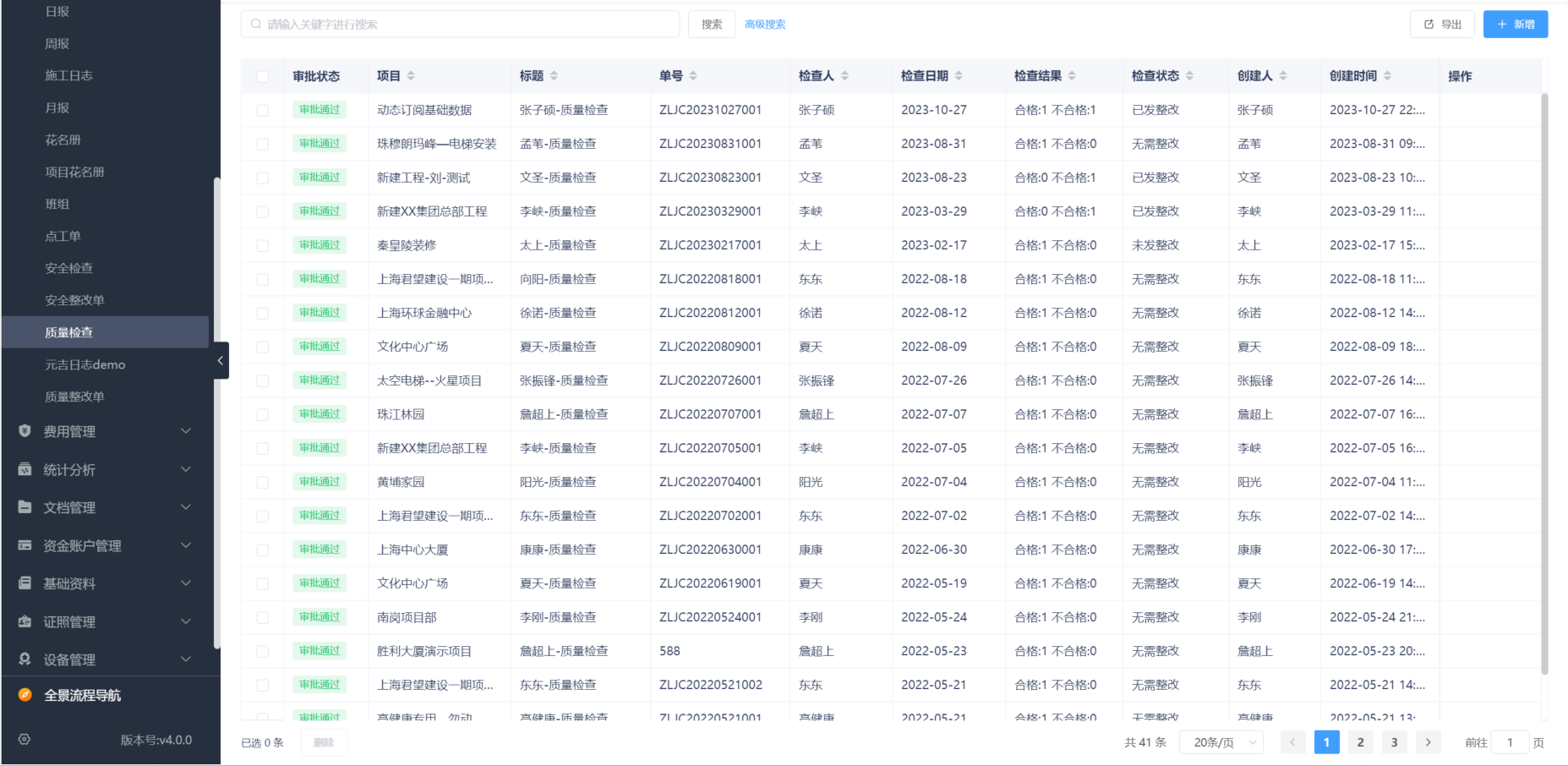
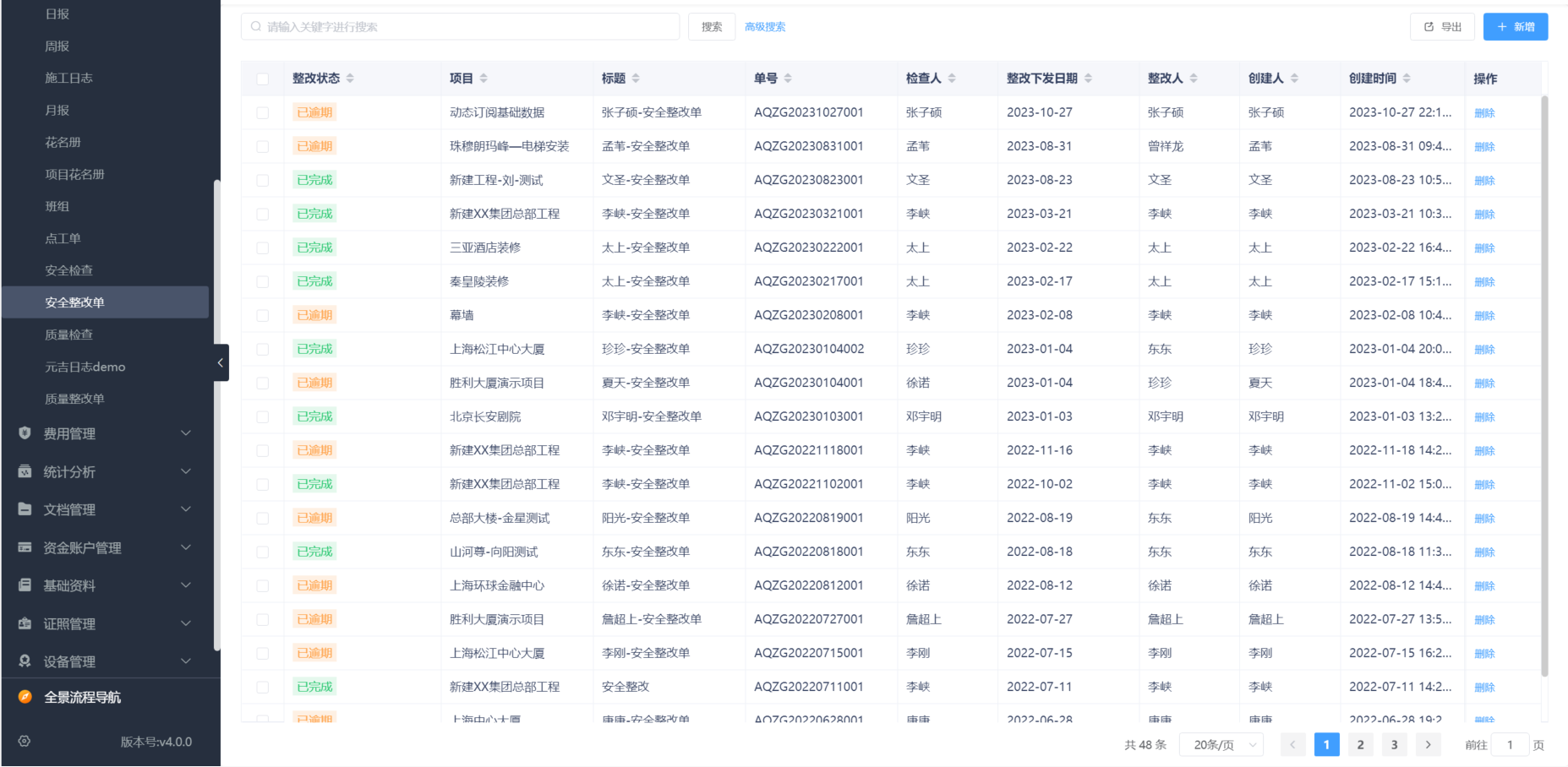
斗栱云建筑收支管理软件,不仅具备实时记录、分析和管理建筑项目收支的强大功能,更通过先进的算法和智能化的数据分析,帮助企业精准掌控收支动态。无论是项目资金的流入流出,还是各项费用的支出明细,建筑收支管理软件都能以清晰直观的方式展现,让企业管理者一目了然。

在收支管理中,数据准确性和实时性至关重要。斗栱云建筑收支管理软件通过高度自动化的数据处理和更新机制,确保收支数据的准确性和时效性。这为企业决策提供了有力的数据支持,减少了因信息滞后或错误而导致的风险。

同时,斗栱云建筑收支管理软件还具备强大的风险控制功能。通过对收支数据的深度挖掘和分析,建筑收支管理软件能够及时发现潜在的收支风险,并为企业提供有效的风险应对措施。这有助于企业更好地规避风险,保障项目的顺利进行。

除此之外,斗栱云建筑收支管理软件还注重用户体验和易用性。简洁明了的操作界面、智能化的操作提示,使得建筑收支管理软件的使用变得简单而高效。无论您是收支管理人员还是普通员工,都能轻松上手,发挥出软件的最大价值。

在竞争激烈的市场环境中,选择一款优秀的建筑收支管理软件,对于提升企业管理水平、增强企业竞争力具有重要意义。斗栱云建筑收支管理软件以其卓越的性能、智能化的管理功能和易用的操作体验,正成为越来越多建筑企业的首选。

如果您还在为繁琐的收支管理而烦恼,那么不妨试试斗栱云建筑收支管理软件。它将为您带来全新的收支管理体验,让您的建筑事业更加稳健、高效!

在这个数字化、智能化的时代,让我们携手斗栱云,共同开启建筑收支管理的新篇章!让精准、高效、智能的建筑收支管理软件成为您事业腾飞的强大助力!
添加微信 获取更多干货